Home
Services
Resume
Projects
Blog
Contact
Projects, Papers & Conferences
Alejandro Coy
Portfolio
All
Chemical Eng.
Machine Learning
Data Analysis
Apps
DUC Wells Identificaiton Datathon 2020
Python, Data Analysis
Wasa Triathlon Time Prediction App
R, Shynny App
Salt Cavern Simulation
Python, Streamlit
Calgary Fire Emergency calls
Python, Jupyter Notebooks
End To End Machine Learnign Project
Python, Machine Learning
Machine Learning Algorithms App
Python Streamlit
Machine Learning Nanodegree
Python, Machine Learning
Data Science Specialization JH University
R Specialization
Wasa Triathlon EDA
EDA Python
Hot FLuid Injeciton
MSc. Thesis
An Alternative Formulation of the Standard Orifice Equation for Natural Gas and Pure Compounds
Paper
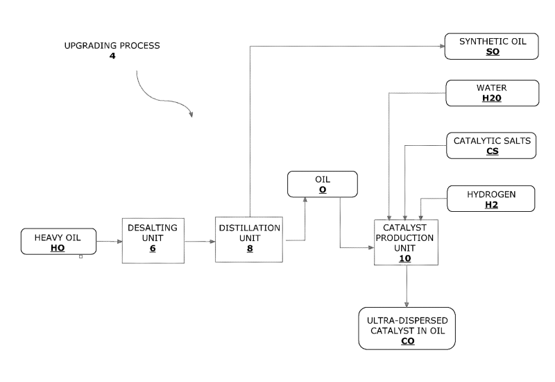
Catalyst preparation unit Patent
Patent
Customer Subscription Prediction
ML, Python
More Pojects
Contact Me
Always happy to chat and share new ideas
Github
See my current work
Projects
Email
Drop me a line!
acoydata@gmail.com
Location
Calgary, Canada